MSP430G2xx2 – расширение линейки ультрабюджетных микроконтроллеров от TI
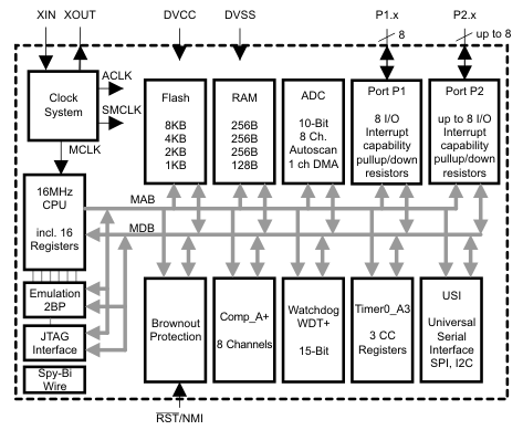
Компания Texas Instruments расширила серию ультрабюджетных микроконтроллеров MSP430G2xx. К 9-ти представленным ранее микроконтроллерам добавилось еще 16. Основные изменения коснулись объема встроенной памяти – теперь доступно до 8 Кб флэш-памяти и до 256 байт RAM. Также, в новых микроконтроллерах появились выводы портов, совместимые с емкостными сенсорными кнопками. Напомним, что MSP430G2xx Value Line – это семейство микроконтроллеров, появившееся в 2010 году, которое предоставляет разработчику производительность 16-ти битного микроконтроллера по цене 8-ми битного, сохраняя при этом традиционное для MSP430 сверхнизкое энергопотребление и широкий набор встроенных периферийных модулей.

Особенности и преимущества MSP430 Value Line:
По сравнению с 8-битными микроконтроллерами производительность выше до 10 раз при 16MIPS и на 50% большая плотность кода
5 режимов энергопотребления со сверхнизким режимом ожидания 0.4 мкА и временем перехода в режим максимальной производительности 1мкс, обеспечивающие увеличение времени работы от батарей по сравнению с 8-разрядными решениями
Интегрированная периферия: 10-разрядный АЦП, UART, компаратор, таймеры, датчик температуры, последовательные коммуникационные интерфейсы
Бюджетные средства разработки и интегрированная среда разработки совместимые со всеми микроконтроллерами платформы MSP430
Интегрированные линии ввода/вывода, оптимизированные для емкостных датчиков, позволяющие реализовать сенсорные клавиатуры без лишних внешних компонентов.
Ознакомиться с новыми возможностями MSP430G2xx более подробно.